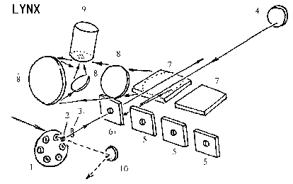
The optical layout of the echelle spectrometer LYNX:

  1. dekkers turret
  2. flat mirror
  3. shutter
  4. collimator
  5. cross dispersion gratings
  6. flat mirror
  7. echelles
  8. camera
  9. CCD
  10. first mirror of the NES's collimator.
LYNX optics

The layout of the preslit unit is presented here

LYNX page